To load a complete copy of Patent 6,137,288 from the USPTO,
click
HERE
Several variations of this rotary
position sensor are shown in the
picture to the left.  These four
parts were sold to TRD and
TRD gave them back to me as a
personal momento when they
were finished with them.   The
parts in the picture were
designed between 1999 and
2001.
Go To Home
Page
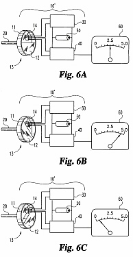
A magnetic flux density plot from
sheet 7 of 14 in this patent.
Click here to view other patents that reference
6,137,288
Click here to view Rotary Angle Sensor Patent
5,444,369